|
Q11F一片式不銹鋼絲扣球閥原理作用: Q11F一片式不銹鋼絲扣球閥的關閉件是個球體,球體繞閥體心線作旋轉來達到開啟、關閉的一種閥門。 Q11F不銹鋼一片式絲口球閥在管路中主要用來做切斷、分配和改變介質的流動方向。 Q11F一片式球閥是一體式的里面由球、四氟圈、鎖緊螺母組成,球的口徑比管道口徑略小,類似于廣式球閥;一片式球閥由于主體材料少于兩片式和三片式,價格較優惠,與廣式球閥用處一樣。 Q11F一片式不銹鋼絲扣球閥性能特點: ①流體阻力小,其阻力系數與同長度的管段相等; ②結構簡單、體積小、重量輕; ③緊密可靠,現球閥的密封面材料廣泛使用塑料、密封性好,在真空系統中也已廣泛使用; ④操作方便,開閉迅速,從全開到全關只要旋轉90°,便于遠距離的控制; ⑤維修方便,球閥結構簡單,密封圈一般都是活動的,拆卸更換都比較方便。 Q11F一片式不銹鋼絲扣球閥技術參數:
Q11F一片式不銹鋼絲扣球閥部件材質:
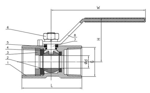
Q11F一片式不銹鋼絲扣球閥外形尺寸:
|
-
流體阻力小,其阻力系數與同長度的管段相等。
-
操作方便,開閉迅速,從全開到全關只要旋轉90°,便于遠距離的控制。
-
緊密可靠,目前球閥的密封面材料廣泛使用塑料、密封性好,在真空系統中也已廣泛使用。
-
結構簡單、體積小、重量輕。
-
維修方便,球閥結構簡單,密封圈一般都是活動的,拆卸更換都比較方便。
-
根據用戶提供的流量、壓力提供選型規格書及控制方案圖。


